I like the convenience, sound and no wires!
Sonos Home Theater Diagram : A sonos home theater system brings a rich, enveloping surround sound experience to your movies, tv, games, and music library.
Original Resolution: 785x756 px
Sonos 3 1 Vs 5 1 Key Points Mar 2021 Guide - Looking for someone to install a sonosĀ® home theatre in your florida home?
Original Resolution: 8688x5792 px
Setup Install And Getting The Most From Sonos Amp Sonos Community - Any new home theater device from sonos should be viewed as good news for fans of the company, or of tv audio in general.
Original Resolution: 1600x888 px
How To Set Up A 5 1 Surround Sound System With Sonos With Iphone And Ipad Imore - If a sonos home theater sounds like something you might want, figuring out which components you need may seem overwhelming.
Original Resolution: 489x339 px
Add A Surround Speaker Or Sub To A Sonos Home Theater Support Com - The main feature of the system is the sonos playbar.
Original Resolution: 960x691 px
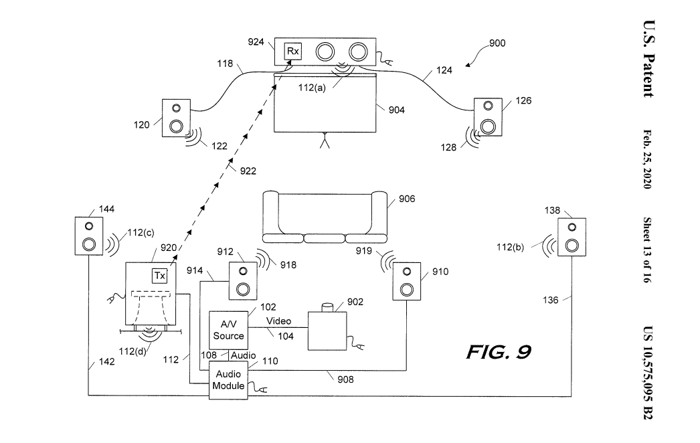
Patent Shows Apple S Exciting Home Theater System To Beat Sonos - The main feature of the system is the sonos playbar.
Original Resolution: 659x427 px
Setup Install And Getting The Most From Sonos Amp Sonos Community - Home theater + automation (manhattan beach smart home av systems integrator) south bay, palos verdes estates.
Original Resolution: 960x965 px
Arc Surround Set Where To Best Place The Rear Surround Speakers Sonos - Creating a sonos home theater system requires that you add at least a pair of additional speakers.
Original Resolution: 417x222 px
How To Achieve The Best Sound With A Sonos Play 3 Support Com - So smart that, when you combine a sonos playbar, sub, and either two play:1s, two play:3s, or two play:5s (gen 2), you can turn all the individual components into a bumpin' home theater system!
Original Resolution: 560x315 px
Sonos By Sonance Built In Speaker Review Onehoursmarthome Com - Sonos home theater systems are amazing!
Original Resolution: 300x225 px
The Ultimate Guide To Sonos Ceiling Speakers Leslievillegeek Tv Installation Home Theatre Cabling Wiring - Tune in to find out why sonos has never sounded better.
Original Resolution: 1068x1330 px
Rm011 Wireless Smart Speaker User Manual Sonos Playbar Sonos - Sonos home theater systems are amazing!
Original Resolution: 294x600 px
What To Expect From A Sonos 5 1 Surround Sound Setup Best Buy Blog - This video features sonos 5.1.
Original Resolution: 1024x688 px
Sonos Announces New Arc Sound Bar For Your Shelter At Home Theater Needs Sunset Magazine - A sonos home theater system brings a rich, enveloping surround sound experience to your movies, tv, games, and music library.
Original Resolution: 700x443 px
Should This New Apple Patent Worry Sonos Investors Nasdaq - Their convenience level has always been high enough, and they've now gotten good enough, that sticking them below a tv is.
Original Resolution: 1024x646 px
How To Connect A Sonos Soundbar To A Projector Smart Home Sounds Smart Home Sounds - Sonos 5.1 home theater bundle with playbar, sub, and play:1 pair.
Original Resolution: 2586x1455 px
How To Connect A Sonos Soundbar To A Projector Smart Home Sounds Smart Home Sounds - Combining it with google play or similar programs is absolutely amazing, but it works off your tv as well which is perfect for movies and netflix.
Original Resolution: 860x805 px
No Sound Through Hdmi With Mac Mini Connected To Projection Tv Ask Different - Playbase has a slim tabletop design that practically disappears underneath your tv.
Original Resolution: 1006x1266 px
Building A 7 1 Setup For Home Theater With Sonos Sonos Community - All sonos components should be connected to the same lan either application note #625.
Original Resolution: 535x338 px
In Wall And Ceiling Speakers Placement Guide Ceilingspeakerstore - The most important thing to.